
Une charnière est un assemblage mobile de charnons de métal, de bois ou d’autres matériaux, encastrés l’un dans l’autre par des nœuds et maintenus ensemble par un axe, une broche ou même un clou qui les traverse.
Les charnons sont des platines ou ailes, percées ou non selon l’application, équipées de nœuds qui permettent le passage de l’axe. Il existe 2 types de charnons : Le charnon femelle qui présente un nombre impair de nœuds et le charnon mâle qui possède un nombre pair de nœuds.
La broche ou axe permet d’effectuer le mouvement de rotation. Elle peut être totalement cylindrique ou avec une extrémité ronde. La broche est striée ou possède une déformation ou une soudure afin de rester bloquée dans les charnons.
Il existe différents critères pour effectuer son choix : Le type de matériau, l’esthétique, l’utilisation, le placement et le coût. Un large choix de charnières est désormais disponible dans des matériaux et finitions très différents (ex : en laiton, en Inox, en Acier). Vous pourrez facilement trouver la charnière adaptée à votre projet, au rendu esthétique souhaité et au budget que vous vous êtes fixés. Une charnière doit avant tout être sélectionnée par l’utilisation que vous voulez en faire et son placement. Par exemple : le degré d’ouverture de la porte, le montage en applique, visible ou invisible, etc. Vous trouverez ci-dessous la typologie des charnières pour vous aider dans vos choix.

Matériau qui permet la soudure de la charnière sur son support. On l’utilise le plus souvent dans l’industrie, l’aéronautique et l’automobile. Doit être peint pour éviter les points de rouille.

Matériau utilisé dans les espaces soumis à de fort taux d’humidité ou immergés. Ne s’oxyde pas. On les retrouve souvent dans l’industrie, l’agroalimentaire, le nautisme.

Acier fin qui offre une résistance plus faible que les matériaux massifs. Les produits sont économiques et généralement présents dans les grandes surfaces de bricolage. Ils sont destinés au grand public. Ce matériau n’est pas adapté aux environnements extérieurs, car il s’oxyde vite.

Matériau principalement utilisé avec les portes et fenêtres en aluminium. On retrouve également ce matériau dans les salles d’eau pour actionner les panneaux de verre sans encadrement. Ne s’oxyde pas.

Matériau résistant utilisé dans l’ameublement. Les charnières peuvent rester visibles. Existe en différentes finitions : laiton brut, poli tonneau, poli tampon (effet miroir) et chromé (pour les environnements humides).

Matériau en laiton de fine épaisseur et moins résistant que les matériaux massifs. Les produits sont économiques et habituellement présents dans les grandes surfaces de bricolage. Ils sont destinés au grand public.

Matériau utilisé dans l’industrie et dans le domaine de l’électricité. Très bon isolant, il est préconisé dans les cas de contraintes électriques par exemple sur des tableaux électriques.

Anciennement utilisé, ce type de charnière n’est pas commercialisé. Vous pouvez la fabriquer vous-même. Cliquez sur le lien suivant si vous souhaitez fabriquer votre charnière en bois :
Le nombre de charnières à utiliser est lié à la taille de votre porte ou battant ainsi qu’à son poids. En général, les fabricants préconisent le nombre de charnières suivant :
Pour un battant / porte de moins de 90 cm de hauteur : 2 charnières.
Pour un battant / porte de moins de 160 cm de hauteur : 3 charnières.
Pour un battant / porte de moins de 200 cm de hauteur : 4 charnières.
Pour un battant / porte de moins de 250 cm de hauteur : 5 charnières.
Pour un battant / porte de moins de 5 kg max : 2 charnières
Pour un battant / porte de moins de 9 kg max : 3 charnières
Pour un battant / porte de moins de 15 kg max : 4 charnières
Pour un battant / porte de moins de 25 kg max : 5 charnières





Les charnières plates sont celles que nous trouvons le plus souvent dans notre vie quotidienne. Il existe de nombreux modèles de ce type de charnières : en acier, en acier nickelé, chromé, en inox… Elles sont disponibles en de nombreuses dimensions. Idéales pour la rotation des pièces qui ne seront pas démontées régulièrement : portes, portes de placards, de cuisine, coffre à jouet. Une fois montée, seul le nœud est apparent. Elles permettent une ouverture de 0° à 180°.
Dans la « famille » des charnières plates, on peut distinguer 3 modèles différents.
Elle est la plus utilisée dans le monde de nombreuses variantes et tailles sont disponibles et elles sont utilisées dans bons nombres d’assemblages. Ses bords à angles vifs permettent de les positionner le plus souvent dans des entailles réalisées dans le bois. Dans certains pays (usa) elles sont aussi utilisées pour les portes intérieurs des habitations. Elles se positionnent soit en applique sur les pièces à actionner, ou dans une entaille le bois ou le support afin de les dissimuler partiellement.
Pour le montage de la charnière simple il vous faut vous munir de ces outils suivants :
- Un maillet ou marteau
- Un ciseau à bois
- Un mètre
- Un cutter ou scalpel
- Un crayon ou stylo bille (sur le bois le stylo se voit mieux)
- Une visseuse avec embout ou un tournevis pour fixer les vis
- Une ou plusieurs charnières (pour savoir combien de charnières utilisé, c’est ici)




Utilisée dans les coffres, coffrets et sur les abattants de claviers de piano. Elles se caractérisent par leurs grandes longueurs. Généralement ce sont des charnières faites en feuille d’acier nickelé ou laitonné.
Le montage ne nécessite pas obligatoirement d’entaillage donc elles sont moins complexent à mettre en place, puisqu'en applique. Vous pouvez tout de même entailler, mais si vous ne maitrisez pas la technique de l’entaillage nous vous le déconseillons.
Pour le montage de la charnière à piano il vous faut vous munir :
- Un mètre
- Un crayon ou stylo à bille
- Une visseuse avec embout ou tournevis
Lors du montage ne positionner qu’une vis sur deux et en quinconce entre les 2 charnons. En effet, si vous positionnez toutes les vis, vous allez avoir une surépaisseur dû aux têtes de vis. Vous pouvez toutefois fixer l’intégralité de la visserie dans le cas ou les têtes de vis sont fraisées et affleurantes avec la charnière.



Les charnières à couplet ont la particularité d’être plus longues que large. Les charnons sont rectangulaires ou carrés. Elles sont aussi assez robustes. Elles sont souvent utilisées sur des rabats de tables rondes, l’articulation de tréteaux ou en appliques sur les coffres ou la charnière doit être visible pour contribuer à l’esthétique. On les confond souvent avec des pentures (qui sont de formes plus triangulaires et beaucoup plus longues). Peu de fabricant proposent les charnières à couplet, et généralement, elles sont en laiton massif. Une variante appelée charnière à congés, elle peut être proposée en laiton massif, acier brut ou acier nickelé.





Les charnières universelles sont assez particulières. En effet, les charnons et le nœud font la même largeur ce qui permet de dissimuler les vis derrière le nœud pour les versions vissé et en règle générale de prendre moins de place que les charnières plates. Elles ont aussi la particularité de pouvoir être dégonder très facilement.
L’inconvénient, c’est qu’elles sont visibles puisque apparentes. Elles sont très utilisées dans l’industrie pour les versions à souder.
On les utilisait dans les 40 à 70 dans les cuisines en formica pour la fixation des portes de placards, étant dégondables, elle permettait de lessiver les portes de cuisines.
Dans l’ameublement, elles sont utilisées avec des vases dans le mobilier « rustique ». Des versions grand format pour portes lourdes sont utilisés pour des portes de chambres froides ou d’industrie. On les confond assez souvent avec les paumelles.
Pour la pose des charnières universelles le matériel nécessaire se compose de :
- Une ou plusieurs charnières (pour savoir combien de charnières utilisé voir plus haut)
- Un crayon ou stylo bille
- Un mètre
- Un tournevis ou une visseuse avec embout




Généralement, on utilise 2 charnières universelles pour une porte de meuble ou de placard de petite dimension. Séparer les éléments de la charnière.

La hauteur où se trouve la charnière est égale à sa hauteur. C’est-à-dire pour la charnière basse si la charnière mesure 80 mm la distance du bas de la charnière seras de 80 mm.

Visser la première partie sur le chant. Remonter la seconde partie avec l’axe. Positionner la porte en place. Marquer à l’aide du crayon l’emplacement de la seconde partie sur le bâti ou le support.

Visser la seconde partie sur le bâti. Remonter entièrement l’ensemble avec l’axe.


Les charnières invisibles font parties des plus utilisées des charnières. On les dit « invisibles » car elles se trouvent à l’intérieur du meuble, du caisson ou du placard pas de nœud visible. Elles permettent des ouvertures de 90° à 185° selon les modèles. Elles sont soit en appliques, à savoir visser sur les surfaces portes et meubles ce sont les modèles qui équipent la majeure partie des cuisines. Ce type de charnière existe en de nombreux modèles, mais la mise en place et le fonctionnement reste assez identique. Il y a aussi les modèles à encastrer, autrement dit totalement encastrer dans les parois du meuble et de la porte. Elles sont plus présentes dans le mobilier moderne salon chambres...
Pour le montage des charnières invisibles en appliques, il y a plusieurs façons soit à l’aide de gabarits fournis par le fabricant, soit en mesurant. Sur la vidéo à la droite montre comment fixer sans gabarit.
Pour le montage des charnières tourillons voir ci-dessous.(source sysemed.fr)




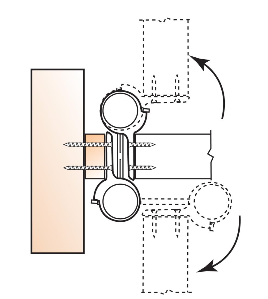
Repérez le centre du trou à percer dans le chant de la porte et, selon son axe, marquez celui à creuser dans le bâti. Les centres des deux trous doivent se trouver sur un même axe.

Après avoir percé, introduisez la charnière dans son logement. Le perçage dans le chant de la porte, ainsi que celui dans le bâti, sont délicats. Le premier doit s’effectuer sans faire éclater le bois, et le second à bonne profondeur, sans traverser le bois.

Une fois l’une des deux parties de la charnière introduite dans son logement, bloquez-la en place. Une petite vis commandant deux ailettes le permet. En serrant la vis, les ailettes se bloquent dans le bois (même principe que les chevilles à expansion).

Introduisez le second élément dans le trou pratiqué dans le chant de la porte, et bloquez de la même façon que précédemment. Correctement posées, les deux parties de la charnière affleurent la surface du bois et ne laissent apparaître que le mécanisme de liaison.




Plusieurs modèles de charnières :
- Les charnières équerres
- Les charnières de hayons
- Les charnières à nœuds déportés
- Les charnières doubles
- Les charnières triples
- Les charnières de paravents


Les charnières déportées sont utilisées pour les besoins d’angle d’ouvertures plus large que les charnières simples. Ces charnières permettent des angles d’ouvertures de 0° à 270° ce qui permet par exemple de rabattre les portes d’un meuble sur les côtés.







Les charnières à briquets sont utilisées dans l’ameublement sur les tables à rabats, sur les tables à jeux, dans l’agencement pour les articulations de comptoir dans une cuisine. Cette charnière permet une ouverture avec un angle de 180° de plus, elle se bloque en place lorsqu'elle est complètement ouverte.
Elle est positionnée dans le panneau par incrustation donc à fleur du panneau.

© LQF - La Quincaillerie - SAS KOA Copyright